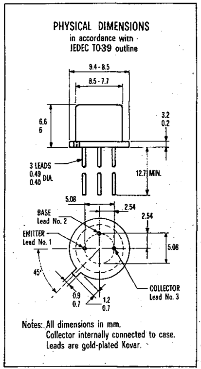
Overview Product Description BFY57_SGS.pdf Product Videos Custom Field Product Reviews Write a Review Write a Review × --- BFY57 ; Transistor NPN 125V 30mA 0.8W 40MHz, TO-39 Rating * Select Rating 1 star (worst) 2 stars 3 stars (average) 4 stars 5 stars (best) Name Email * Review Subject * Comments *